Additionally, paste this code immediately after the opening tag: Komt Shimano binnenkort met een bracket-gearbox? - Pagina 2 - Forum Wereldfietser

Komt Shimano binnenkort met een bracket-gearbox?

math schreef:
di 12 nov, 2019 16:05
Maar het is niet gek om voor deze versnellingsbak een rendement van ongeveer 94% bij 100W en 96% bij 200W te verwachten.
Dat is dan nog zonder de ketting naar het achterwiel, toch?
Dit om het rendement van deze aandrijving te kunnen vergelijken met de bekende plaatjes die je vindt als je zoekt op Wirkungsgrad Rohloff.
Als je je er nog verder in verdiept lijkt het erop dat Shimano een patent uit 2007 van flevobike ingepikt heeft (omdat het verlopen is, dus dan mag het)
https://patents.google.com/patent/US8475306
Uit de categorie beter goed gejat dan slecht zelf bedacht zullen we maar denken.
Het geeft je wel te denken waarom men er destijds niet verder mee is gegaan.
Je kunt toch geen patent krijgen op een verlopen patent, of wel?
Nee, maar iedereen mag de techniek van een verlopen patent toepassen.
Zoals al eerder uitgelegd, gaat de octrooi-aanvraag van Shimano (application; het octrooi moet nog worden verleend) over een verbeterde ketting ('sliding component'), nl. een ketting die door oppervlaktebehandelingen en een daarop aangepast smeermiddel een heel lage wrijving heeft.

Die verbeterde kettingen worden gebruikt in een versnellingsbak die, anders dan de flevobak, drie assen heeft, nl. de trapas, een hulpas en een uitkoppelas. Ik vermoed dat deze constructie bij de stand van de techniek niet nieuw is en daarom niet meer patenteerbaar.
math schreef:
zo 17 nov, 2019 12:25
.... Ik vermoed dat deze constructie bij de stand van de techniek niet nieuw is en daarom niet meer patenteerbaar...
Echt nieuwe dingen worden haast niet meer uitgevonden; vwb auto's zijn de meeste fundamentele patenten ontstaan tussen 1915 en 1940. Voor fietsen zijn de meeste patenten ontstaan (in de USA) voor 1900. Zie het boek 'The Dancing Chain' van Frank J. Berto.

In het algemeen zijn de belangrijkste ontdekkingen/ideeën/patenten overigens van voor 1914 en betreffen, aangaande 'technische dingen' , in feite de industriële revolutie. En verder had men voor 1914 bijvoorbeeld geen idee hoe het menselijk lichaam werkte.

Wat daardoor overblijft is het bedenken van nieuwe variaties en dat is hetgeen Shimano nu gedaan heeft. Als je een nieuwe variatie bedenkt, gebruikmakende van reeds bestaande dingen (bijvoorbeeld ronde :| :D wielen), dan is die nieuwe variatie an sich nieuw dus patenteerbaar althans vwb de nieuwe aspecten hetgeen je zelf ook al constateerde.

Zo te zien Math lees je graag en met grote belangstelling en dat is idd uniek; daarom nog wat mooie lectuur:
https://nl.espacenet.com/publicationDet ... cale=nl_NL

https://worldwide.espacenet.com/publica ... cale=en_EP

Shimano gebruikt dus 3 kettingen en dat is gewoon te veel en vandaar, mag je aannemen, dat ze zijn gaan zoeken naar optimale smering. Enfin, deze nieuwe gearbox van Shimano is op papier al de grootste fietsrevolutie sinds het ontstaan van de MTB. Zinvol voor de gewone 2-wieler ? Zeker niet.
Roadster schreef:
ma 18 nov, 2019 12:41
Wat daardoor overblijft is het bedenken van nieuwe variaties en dat is hetgeen Shimano nu gedaan heeft.
In dat licht vindt ik de titel van het patent, "Sliding component and bicycle transmission device" wel wat gekleurd. De journalistiek van de bladen springt daar meteen bovenop en verliest in zijn enthousiasme uiteraard alle nuance en de hoeraverhalen gaan gezwind de wereld over.
Maar zo schijnt het te moeten. Ik denk er het mijne over.
Leon schreef:
ma 18 nov, 2019 12:53
..... vindt ik de titel van het patent, "Sliding component and bicycle transmission device" wel wat gekleurd.
Graag to the point blijven Leon want "Sliding component and bicycle transmission device" is concreet de titel van het Shimano patent waar deze draad mee gestart is en iedereen kan zodoende de direct gegeven link er op naslaan. De patent titel dekt de lading, is geen media/marketing- maar patentadvocaten/techneuten-taal en die mensen weten vrij goed waar ze het over hebben en zullen geen kleurpotloden gebruiken :o .
Ha, het onderwerp is terug van weggeweest.
Roadster schreef:
ma 18 nov, 2019 12:41
...
Shimano gebruikt dus 3 kettingen en dat is gewoon te veel en vandaar, mag je aannemen, dat ze zijn gaan zoeken naar optimale smering. Enfin, deze nieuwe gearbox van Shimano is op papier al de grootste fietsrevolutie sinds het ontstaan van de MTB. Zinvol voor de gewone 2-wieler ? Zeker niet.
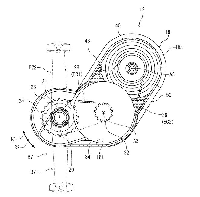
Het is interessant om te speculeren waarom Shimano 3 kettingen gebruikt: 2 in de versnellingsbak en 1 van de versnellingsbak naar het achterwiel (kan natuurlijk ook een riem zijn). Je kunt de omvang van de bak wel ongeveer afschatten aan de cranks : ca. 35 cm bij 25 cm. Veel groter dan een Pinion.
Shimano gearbox.png
Als je naar de tekening van het opengewerkte huis kijkt, zie je dat de verbinding tussen de trapas A1 en de hulpas A2 een niet-schakelbare overbrenging is. Shimano tekent 20 tandjes op de trapas en 13 op de hulpas A2. Voor elke volle trapomwenteling maakt de hulpas ongeveer anderhalve omwenteling. Waarom zouden ze die eerste trap gebruiken? Waarschijnlijk om ruimte te maken voor de schakelbare cassette met 7 kransjes op de hulpas en om met een kleiner uitwendig kettingblad op de uitkoppelas A3 te kunnen volstaan. Er is in de eerste trap wél ruimte voor grotere kettingbladen, bv. 37-24 , wat ongeveer dezelfde overbrengingsverhouding geeft maar met een duidelijk betere efficiency.

De grootste fietsrevolutie sinds het ontstaan van de MTB? Ik vind de Pinion als versnellingsbak veel ingenieuzer (de Rohloff Speedhub is, meen ik, al van voor de MTB). Ik denk dat de Shimano wel goedkoper te maken is en lichter, maar het bereik van de Shimano-bak met 13 versnellingen is kleiner, 465% ipv 600% bij Pinion. Ik schat dat de riemaandrijving de meest toegepaste fiets-innovatie sinds de MTB wordt, al zijn de voordelen discutabel.

Zinvol voor de gewone 2-wieler? Zijn voor de gewone 2-wieler een Alfine, Rohloff of Pinion zinvol? Veel zal afhangen van of die hogere kettinglijn praktische bezwaren heeft.
math schreef: de Rohloff Speedhub is, meen ik, al van voor de MTB
Uhhh nee, het concept 'MTB' bestaat al iets langer, ik dacht zelfs dat Bernhard Rohloff zijn naaf bedacht had voor MTB's, maar dat in eerste instantie de tourmarkt hem oppikte.
math schreef:
di 19 nov, 2019 18:52
De grootste fietsrevolutie sinds het ontstaan van de MTB? [/b] Ik vind de Pinion als versnellingsbak veel ingenieuzer (de Rohloff Speedhub is, meen ik, al van voor de MTB).
Volgens de overlevering kreeg hr Rohloff kreeg het idee voor de Rohloff naaf toen hij op het strand fietste, en vastliep in het zand.
De eerste Rohloff dateert van 1998.
Ik kocht mijn eerste Rohloff (serienummer 15000) in 2002 vanwege de gelijke verdeling van de spaakspanning.
Ik kocht hem voor een trekkingfiets.
Maar de naaf was toen vooral in zwang bij MTB. Omdat je ook bij lage snelheid kon schakelen.
Als ik De Vakantiefietser goed lees, heeft hij zijn eerste Rohloff in 2008 gemonteerd.

Ik vind het bij stilstand/lage snelheid kunnen schakelen nog steeds een belangrijke hoedanigheid van een schakelsysteem, die niet hoeft onder te doen voor rendement.
Mijn vermoeden dat de Rohloff Speedhub ouder is dan de MTB was onjuist. Volgens Wikipedia dateert de MTB uit het einde van de jaren-70, een ontwikkeling die inzette rond het afdalen van de Mount Tamarack in California.

Dus voor de vraag naar de grootste fietsrevolutie sinds het ontstaan van de MTB, zou Rohloff ook een serieuze kandidaat zijn. Maar nu ik er wat langer over heb nagedacht, twijfel ik niet: de grootste revolutie zijn hydraulische schijfremmen. Die bestonden toen alleen in de auto- en motorwereld. Nu zie je ze op bijna alle MTB's, op veel crossfietsen en ook al op racefietsen. Bij reisfietsen duurt het meestal wat langer, maar ook daar zullen ze langzaam maar zeker de standaard worden.
tndmbkr schreef:
wo 20 nov, 2019 18:31
...De eerste Rohloff dateert van 1998.
...
Maar de naaf was toen vooral in zwang bij MTB. Omdat je ook bij lage snelheid kon schakelen.
...
Precies. Ik dacht/wist het ook al, maar aan een bewering van Math twijfel ik normaal gesproken niet...
math schreef:
wo 20 nov, 2019 19:30
Dus voor de vraag naar de grootste fietsrevolutie sinds het ontstaan van de MTB, zou Rohloff ook een serieuze kandidaat zijn. Maar nu ik er wat langer over heb nagedacht, twijfel ik niet: de grootste revolutie zijn hydraulische schijfremmen.
Niet de geëxtrudeerde aluminium holkamervelgen? Zonder hydraulische schijfremmen kan ik prima; zonder versnellingsnaaf ook, maar met de sterke velgen ben ik toch wel erg blij.
math schreef:
wo 20 nov, 2019 19:30

Dus voor de vraag naar de grootste fietsrevolutie sinds het ontstaan van de MTB, zou Rohloff ook een serieuze kandidaat zijn. Maar nu ik er wat langer over heb nagedacht, twijfel ik niet: de grootste revolutie zijn hydraulische schijfremmen.
Mmmm, revoluties in de fietswereld, bestaan die nog?

Ik denk dat schijfremmen ouder zijn dan de MTB. Volgens een website die ik gevonden heb wordt er al minstens sinds de jaren 1950 mee geëxperimenteerd op fietsen. De hydraulische schijfrem lijkt me eerder een evolutie dan een revolutie.
De derailleur, dat was een revolutie. Maar die bestond ook al voor de MTB.

Ik vind die opmerking van Leon nog zo gek niet. Of het een revolutie was, weet ik niet. Maar ik herinner me mijn fietsen uit de jaren 1970 en hun rotslechte velgen.
Ik denk dat de markt hier wel op zit te wachten. Als het iets zwaarder loopt, maar je hoeft niet na afloop met kettingreinigers aan de gang is dat veel gemak en tijdswinst.

De nexus naven doen het toch ook geweldig op de markt?

Ik heb bewust een fiets met een riem om niet m er te hoeven poetsen.
https://www.cyclingabout.com/13-speed-shimano-gearbox/

Aardige uitleg en een interessant filmpje.
egopro schreef:
do 21 nov, 2019 08:14
Aardige uitleg en een interessant filmpje.
Inderdaad! Iemand die er dieper in is gedoken dan anderen.
Ik had nooit eerder van de Phaser gearbox gehoord, die al uit 2007 stamt.
Ik heb wat commentaar achtergelaten.
derdekeer schreef:
wo 20 nov, 2019 20:43
...
Mmmm, revoluties in de fietswereld, bestaan die nog?

Ik denk dat schijfremmen ouder zijn dan de MTB. Volgens een website die ik gevonden heb wordt er al minstens sinds de jaren 1950 mee geëxperimenteerd op fietsen.
...
Geëxperimenteerd met.. Maar kennelijk was het omzetten van de bekende technologie van auto's en motoren nog niet zo gemakkelijk. De eerste hydraulische schijfrem op een fiets die je in de winkel kon kopen kwam pas in 1997 !

Aluminium holkamervelgen, die had ik al op mijn eerste racefiets in 1981, een tweedehands Raleigh zoals die waarop de ploeg van Peter Post reed (plaatje uit 1977). Ze moeten dus dateren van de jaren-70.
1977Raleigh.jpg
1977Raleigh.jpg (41.79 KiB) 3179 keer bekeken
derdekeer schreef:
wo 20 nov, 2019 20:43
Mmmm, revoluties in de fietswereld, bestaan die nog?
Ik denk dat de grote omwentelingen meer hebben te maken met kleine aanpassingen aan grote ideeen.
Zodat het grote idee op eens een aantrekkelijk idee wodt.

Bijvoorbeeld.
Ik vind de terugtraprem een mooi staaltje (ingewikkelde) techniek.
Maar de terugtraprem is eerder uitgevonden dan de (technisch veel eenvoudigere) handbediende achterrem.

De eerste safety bikes waren voorzien van een metalen plaatje bovenop de voorvelg/band dat werd bediend met een stang vanaf het stuur.
Ze hadden geen freewheel, en de fiets kon ook worden geremd door achter uit te trappen.
Daarna is de terugtraprem uitgevonden. Dat is rond 1900.

De handbediende achterrem is pas geintroduceerd nadat het freewheel gemeengoed wordt op de safety bike.
Hoewel het freewheel al werd toegepast op de velocipede, werd dat op de safety bike niet direct toegepast omdat in de marketing van die jaren het als een voordeel werd gezien dat de fietser de grond met de voeten kon raken.
Zonder freewheel geen terugtraprem.

Schroef eens een oude fiets zijn terugtraprem open. Dan zul je zien hoe eenvoudig die geconstrueerd zijn. Iets dergelijks kwam ik ook toen ik eens een SA3-naaf sloopte. Verbluffend dat je me zo weinig onderdelen een drieversnellingsnaaf kon maken.

Maar volgens mij zijn er meerdere relevante data voor elke innovatie. Eentje is de uitvinding. De tweede wanneer het voor het eerst gemaakt is. Derde wanneer er een bruikbare versie van is. De volgende de grote doorbraak, etc. etc. Daar kunnen afhankelijk van de uitvinding vele jaren of decennia tussen zitten, of ze breken nooit door.

De doorbraak van de lichte, betrouwbare en toch goedkope aluminium velgen gaat natuurlijk samen met de min-of-meer doorbraak van tal van fietsonderdelen in aluminium die door modernere fabricagemethoden licht, betrouwbaar én goedkoop (genoeg) gemaakt konden worden. Dat vrijwel alle onderdelen ook nu nog gemaakt worden in zowel baggerkwaliteit als topkwaliteit doet daar niets aan af. Op dit forum kunnen we vooral blij zijn dat er voor een vrij laag bedrag heel goede spullen te krijgen zijn waar je fietstochten mee kunt maken die je in 1970 echt niet kon maken.